柜内照明灯
PRODUCTS
  • 产品名称:

    CGM系列柜内照明灯

    概述:
            CGM3型LED柜内照明灯是为满足开关柜行业的市场需求及响应国家节能减排目标而重新设计绿色照明光源。本产品吸取以往产品在实际应用中出现不足的基础上对现有产品做了多方面的改进优化。现该产品具有体积小.安全性好,使用寿命长(灯泡无需更换)等优点。可作为各类开关柜的仪表室、电缆室的照明应用。此系列照明灯也可根据柜内照明要求可单用也可串联多个共用,根据柜内要求选购,方便统一。
     
    型号:CGM3
     
     
    技术参数
    I、额定工作电压:有AC220V、AC36V、交直流通用型100V~220V
    2、额定频率:50HZ~60HZ
    3、额定功率:≤3W
    4、光照度:≥500Lx
    5、使用寿命不少于10万小时
    6、环境温度:-30°~+50°
    7、工作范围及型号
           CGM3-LED1   AC   220V
           CGM3-LED2 AC、DC通用型110V~220V
           CGM3-LED3 AC 36V
     注:工作电压可根据客户需求、特殊制定
     
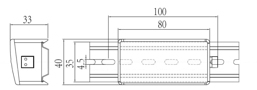
     CGM3 外型及安装尺寸
     
    CGM3 多个串联公用 
     
     
     
  • 在线咨询
  • 上一页:该页为第一页
    下一页:CGM系列柜内照明灯
  • 0
  • 关闭
Copyright © 2017 温州市国通电器有限公司 ALL Rights Reserveds 浙ICP备11033403号
地 址:瓯海梧田瓯海大道 325弄2号 服务热线:0577-86739283

在线咨询

工作日:9:30-21:00
周末:10:00-17:00

在线咨询

请您留言

Please leave a message

*

标题

*

姓名

*

电话

*

邮箱

*

验证码

点击换一张*

手机扫一扫
打开国通手机